गैजेट अध्ययन
iPhone के बाद ऐपल अब ऐसे कवर पर काम कर रहा है, जिसमें सैटेलाइट वाला एंटिना लगेगा। यह वीडियो आपको बिना नेटवर्क के सैटेलाइट कनेक्टिविटी के कवर करता है। रिपोर्ट के मुताबिक, ऐपल ने इस स्मार्ट कवर को फाइल के तौर पर अपलोड कर दिया है। कंपनी ने 2022 में सैटेलाइट सैटेलाइट फीचर वाले iPhone लॉन्च किए थे। इसके बाद सैमसंग सहित कई इलेक्ट्रॉनिक्स ब्रांड ने अपने फोन में सैटेलाइट कनेक्टिविटी शुरू की थी।
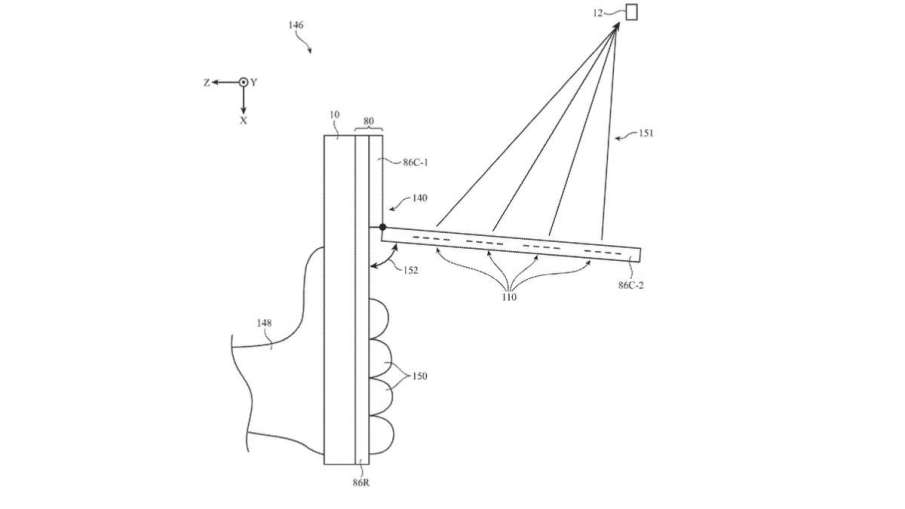
फ़ोन कवर में संभावित एंटिना
एंड्रॉइड हेडलाइंस की रिपोर्ट के मुताबिक, एप्पल ने इस एंटीना वाले फोन कवर के लिए लैपटॉप बनाया है। इस मॉड्यूल केश में सैटेलाइट से गेमप्ले के लिए फिलीप एरे यी एंटिना दिया जाएगा। इसमें मल्टीपल ट्रांसमीटर और ट्रांसरिसिवर्स लगेहोगे, जो सैटेलाइट से जुड़े हुए हैं। इसके अलावा फोन के साथ मॉड्यूल के लिए इस कवर में नियर फील्ड कम्युनिकेशन यानी एनएफसी और रेडियो फ्रीक्वेंसी (आरएफ) ट्रांसमीटर लगाया जाएगा। सैद्धांतिक के अनुसार, इस एंटिना को फ़ोन के कवर से निकाला जा सकता है।

लैपटॉप
रिपोर्ट के मुताबिक, यूजर फ्लैगशिप तो iPhone के साथ इस स्मार्ट कवर को खरीद सकते हैं। आने वाले समय में कंपनी ने अपने डिवाइस के साथ इस स्मार्ट कवर को भी लॉन्च किया। इसके बावजूद उपभोक्ता को अलग से खर्च करना पड़ सकता है। इस कवर में फीचर-इन फीचर दिया जा सकता है, जो नेटवर्क जोन में सैटेलाइट पैनल को ऑन कर देगा, ताकि उपभोक्ता एसओएस में कॉलिंग का लाभ ले सके।
विभिन्न प्रकार के सर्वोत्तम उपकरण
यह स्मार्ट केस लो अर्थ ऑर्बिट (LEO) सैटेलाइट से कनेक्टेड जेल के माध्यम से बनाया गया है। किसी भी तकनीक के साथ लगे एंटिना का सरफेस एरिया लिमिटेड होता है, वजह से इंदौर में इंटरएक्टिव दिक्कत आती है। विभिन्न एंटिना बनाने के पीछे का मकसद यह होगा कि दिए गए एंटिना को आवेदन दिया जाएगा। यह अप्लाई करने वाले को सबसे बेहतर सुविधा प्रदान करता है। इसका उद्देश्य से उपभोक्ता एसओएस यानी वॉल्यूम में आसानी से फोन लेना महंगा है।
यह भी पढ़ें- Jio के लॉन्च प्लान में आया करोड़ों का मजा, 365 रुपए में मिल रहा बहुत कुछ
